هل سبق لك أن واجهت مقياس التدفق الدوامي الذي يُظهر دقة ضعيفة، أو تقلبات كبيرة في الإشارة، أو حتى فقدان كامل للإشارة بعد التثبيت؟
في كثير من الحالات، لا يكون السبب الجذري هو الأداة نفسها، بل ممارسات التثبيت والتحجيم غير الصحيحة. تعتبر مقاييس التدفق الدوامة حساسة للغاية لملف السرعة ونظام التدفق وتكوين الأنابيب. يمكن أن تؤدي الانحرافات الصغيرة في هذه التفاصيل إلى أخطاء كبيرة في القياس.
تشرح هذه المقالة المبادئ الهندسية الرئيسية وراء الحجم المناسب، واختيار المخفض، ومتطلبات الأنابيب المستقيمة، بناءً على معايير الصناعة والأبحاث التجريبية التي تم التحقق منها.
1.تحجيم المتر لنسبة ترتيب واسعة: لماذا يكون تقليل القطر ضروريًا في كثير من الأحيان
لتحقيق أ نسبة تراجع واسعة والتأكد من قوة الإشارة الكافية بمعدلات تدفق منخفضة، فمن الممارسات الهندسية الشائعة القيام بذلك تقليل قطر مقياس الجريان بالنسبة لخط الأنابيب من أجل زيادة سرعة السوائل.
ل مقاييس التدفق التي تعتمد على السرعة – مثل:
- مقاييس التدفق الدوامي
- دوامة (دوامة السبق) مقاييس التدفق
- مقاييس التدفق الكهرومغناطيسي
عادةً ما يتم تحقيق مطابقة القطر هذه باستخدام مخفضات متحدة المركز .
مبدأ التحجيم العام
- في معظم التطبيقات، يجب أن يكون القطر الاسمي لمقياس الجريان مساوياً أو أصغر من قطر الأنبوب .
- ل vortex flowmeters, the calculated meter size is often واحد إلى اثنين من الأحجام الاسمية أصغر من خط الأنابيب.
مثال
- خط الأنابيب: 8 بوصة (DN200)
- مقياس الجريان الدوامي: 4 بوصة (DN100)
في حالات خاصة – مثل نقل حضانة الزيت أو قياس النيتروجين منخفض التدفق - يمكن تطبيق تخفيضات أكبر لتلبية متطلبات الهبوط القصوى.
ومع ذلك، يظل الحجم الزائد مشكلة متكررة. في العديد من المشاريع، تم اختيار مقاييس التدفق الدوامي كبير جدًا ، مما أدى إلى:
- السرعة غير كافية أثناء التشغيل العادي
- التشغيل خارج نطاق القياس الفعال
- عدم استقرار شديد في الإشارة بعد التشغيل
ملاحظة الحالة:
ل nitrogen service with a 4" pipeline selected for start-up demand, installing a 1/2" vortex flowmeter represents an extreme reduction. Both the pipeline sizing logic and the meter selection require careful revaluation.
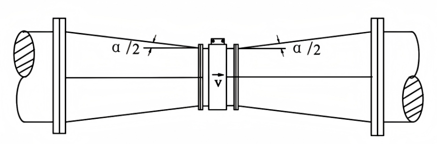
2. اختيار المخفض: استخدم دائمًا مخفضات متحدة المركز
عندما يكون من الضروري تقليل قطر الأنبوب أو توسيعه في تركيبات مقياس الجريان الدوامي:
يجب استخدام مخفضات متحدة المركز.
تقوم المخفضات اللامركزية بإنشاء ملفات تعريف سرعة غير متماثلة تقلل بشكل كبير من دقة القياس في الأدوات الحساسة للسرعة.
3. متطلبات الأنابيب المستقيمة للمنشآت ذات القطر المنخفض
متطلبات هندسة المخفض
لتقليل تشويه التدفق:
- ال يجب ألا تتجاوز زاوية المخروط α للمخفض 15 درجة
- في ظل هذه الحالة، يمكن معالجة المخفض كجزء من طول الأنبوب المستقيم
كلاهما يجب أن تكون مخفضات المنبع والمصب مخفضات تدريجية ومتحدة المركز.
4.الحد الأدنى لمتطلبات الطول المستقيم للمنبع (القيم النموذجية)
| نوع الاضطراب المنبع | عام مطلوب طول مستقيم |
| لا يوجد إزعاج | 15 د |
| المخفض متحدة المركز | 15 د |
| موسع متحدة المركز | 18 د |
| كوع واحد بزاوية 90 درجة | 20 د |
| مرفقان بزاوية 90 درجة (نفس المستوى) | 25 د |
| مرفقان بزاوية 90 درجة (مستويات مختلفة) | 40 د |
| صمام | 50 د |
د = قطر الأنبوب الداخلي
5. شروط التثبيت العامة لأجهزة قياس التدفق الدوامي
يجب أن يستوفي مقياس التدفق الدوامي المثبت بشكل صحيح الشروط التالية:
أ) يتم تركيبها أفقيًا أو رأسيًا (للسوائل: اتجاه التدفق من الأسفل إلى الأعلى) في أنبوب يتوافق مع القطر الاسمي
ب) أطوال الأنابيب المستقيمة الملائمة والخالية من العوائق على النحو المحدد
ج) المحاذاة المحورية مع خط الأنابيب؛ يجب ألا تتدخل الحشيات في التدفق
د) يجب أن تظل الأنابيب متعددة الأقسام مستقيمة مع الحد الأدنى من عدم محاذاة المحور
ه) قياس درجة الحرارة:
- ويفضل أن يكون ذلك عن طريق Thermowell المدمج
- بخلاف ذلك، حدد موقع المستشعر 2-5D المصب
و) قياس الضغط:
- ويفضل أن يكون ذلك عن طريق التنصت على الضغط المدمج
- خلاف ذلك، حدد موقع التنصت 2-7D المصب
ز) عدم وجود صمامات أو خطوط جانبية داخل مقاطع الأنابيب المستقيمة
ح) لا توجد صمامات للتحكم في التدفق في أعلى العداد
ط) في حالة وجود فقاعات غاز أو شوائب، قم بتركيب فواصل أو مرشحات المنبع من المدى المستقيم
6. أطوال الأنابيب المستقيمة النموذجية (قياس القناة المغلقة)
| التكوين المنبع | طول المنبع | طول المصب |
| المخفض متحدة المركز fully open gate valve | ≥15 د | ≥5D |
| كوع واحد بزاوية 90 درجة | ≥20 د | ≥5D |
| مرفقان بزاوية 90 درجة (نفس المستوى) | ≥25 د | ≥5D |
| مرفقان بزاوية 90 درجة (مستويات مختلفة) | ≥40 د | ≥5D |
7. موقع الصمام واعتبارات التدفق على مرحلتين
- تجنب الصمامات أو الممرات الالتفافية بالقرب من مقياس الجريان
- قد تتسبب صمامات خفض الضغط في تغيير الطور في اتجاه مجرى النهر
- يجب تجنب التدفق على مرحلتين (غاز في سائل أو سائل في غاز).
- استخدم فواصل الغاز أو المرشحات عند المنبع إذا لزم الأمر
8. لماذا يجب تجنب المخفضات اللامركزية
تعد مقاييس تدفق الكتلة ومقاييس الإزاحة الإيجابية من كوريوليس مستقلة عن ملف تعريف السرعة.
تعتمد جميع مقاييس التدفق الأخرى على ملف تعريف السرعة وتتطلب أطوال أنابيب مستقيمة من المنبع والمصب.
إرشادات الصناعة الرئيسية:
- يجب أن تتوافق متطلبات تركيب أجهزة الضغط التفاضلي ايزو 5167-1
- ل other flowmeters, manufacturer installation guidelines must be strictly followed
- تعمل المخفضات اللامركزية على تعطيل ملفات تعريف السرعة بشدة ويجب عدم استخدامه بالقرب من العدادات المعتمدة على السرعة
9. تأثير المخفضات متحدة المركز على ملف تعريف السرعة (أدلة تجريبية)
الدراسات التجريبية التي أجراها TNO و دلفت الهيدروليكية باستخدام الهواء والماء إثبات:
- مخفض متحدة المركز بنسبة قطر D_meter / D_pipe ≈ 0.44 يمكن تحويل ملف تعريف السرعة غير المتماثل إلى ملف تعريف متماثل تقريبًا (عدم التماثل <2٪)
- ال downstream velocity profile resembles a ملف تعريف السرعة من نوع المكونات (PTVP)
- في 5D المصب ، يظل الملف الشخصي مستقرًا عبر:
إعادة = 50.000-250.000 (هواء)
إعادة = 20.000-500.000 (ماء) - مخفضات متحدة المركز لا تقضي على الدوامة وخاصة تلك الناجمة عن الانحناءات المكانية
- قد تتطلب أجهزة إزالة الدوامة ≥ طول 6D ، اعتمادا على الملعب دوامة
ملخص النتائج
- مخفضات متحدة المركز significantly improve velocity symmetry
- الy do not remove swirl
- فقط المخفضات متحدة المركز توفر هذه الميزة
- تقدم المخفضات اللامركزية تشويهًا شديدًا للسرعة
10. متطلبات الأنابيب المستقيمة للمنشآت ذات القطر المنخفض
(D_meter / D_pipe ≥ 0.7)
| نوع العداد "أ" | المنبع "ب" | المصب "ج" | طول إضافي لصمام التحكم في المصب |
| دوامة | 5 | 5 | 25 |
| دوامة | 3 | 1 | 25 |
| كوريوليس | لا يوجد | لا يوجد | 30 |
| بالموجات فوق الصوتية | 5 | 5 | الرجوع إلى الشركة المصنعة |
| الrma | 5 | 5 | لا يوجد |
| الكهرومغناطيسية | 5 | 5 | لا يوجد |
الوجبات الجاهزة الهندسية النهائية
عندما يكون أداء مقياس التدفق الدوامي ضعيفًا، نادرًا ما يكون السبب هو "جودة الجهاز".
في كثير من الأحيان، هو مشكلة على مستوى النظام تنطوي على:
- اختيار القطر غير المناسب
- نوع المخفض غير صحيح
- طول الأنبوب المستقيم غير كافي
- ملف تعريف السرعة المشوه
Correct sizing مخفضات متحدة المركز disciplined piping design هي أساس قياس تدفق الدوامة المستقر والدقيق.
إذا قمت بتصميم مجال التدفق بشكل صحيح، فسوف يقوم الجهاز بعمله.
عربى
English
Español
русский
Turkish